Винтовой забойный двигатель
Рабочим органом винтового забойного двигателя является винтовая пара: статор и ротор (Рисунок 2.28).

Рисунок 2.28 — Поперечное сечение рабочих органов винтового двигателя
1 — статор; 2 — ротор
Статор представляет собой металлическую трубу, к внутренней поверхности которой привулканизирована резиновая обкладка, имеющая 10 винтовых зубьев левого направления, обращённых к ротору.
Ротор выполнен из высоколегированной стали с девятью винтовыми зубьями левого направления и расположен относительно оси статора эксцентрично.
Кинематическое отношение винтовой пары 9:10 и соответствующее профилирование её зубьев обеспечивает при движении бурового раствора планетарное обкатывание ротора по зубьям статора и сохранение при этом непрерывного контакта ротора и статора по всей длине. В связи с этим образуются полости высокого и низкого давления и осуществляется рабочий процесс двигателя.
Вращающий момент от ротора передаётся с помощью двухшарнирного соединения на вал шпинделя, укомплектованного многорядной осевой шаровой опорой и радиальными резино-металлическими опорами. К валу шпинделя присоединяется долото. Уплотнение вала достигается с помощью торцевых сальников.
Когда двигатель работает с максимальным вращающим моментом, режим называют оптимальным, а с максимальной мощностью — экстремальным. Увеличение нагрузки на долото после достижения экстремального режима работы двигателя приводит к торможению вала двигателя и к резкому ухудшению его характеристики.
Неэффективны и нагрузки на долото, при которых момент, развиваемый двигателем, меньше момента, обеспечивающего оптимальный режим его работы.
2.6 ЦИКЛ СТРОИТЕЛЬСТВА СКВАЖИНЫ
В цикл строительства скважины входят:
v подготовительные работы;
v монтаж вышки и оборудования;
v подготовка к бурению;
v процесс бурения;
v крепление скважины обсадными трубами и ее тампонаж.
В ходе подготовительных работвыбирают место для буровой, прокладывают подъездную дорогу, подводят системы электроснабжения, водоснабжения и связи. Если рельеф местности неровный, то планируют площадку.
Монтаж вышки и оборудованияпроизводится в соответствии с принятой для данных конкретных условий схемой их размещения. Оборудование стараются разместить так, чтобы обеспечить безопасность в работе, удобство в обслуживании, низкую стоимость строительно-монтажных работ и компактность в расположении всех элементов буровой.
В общем случае (Рисунок 2.29) в центре буровой вышки 1 располагают ротор 3, а рядом с ним — лебедку 2. За ней находятся буровые насосы 19, силовой привод 18, площадка горюче-смазочных материалов 11, площадка для хранения глинопорошка и химреагентов 9 и глиномешалка 17. С противоположной стороны от лебедки находится стеллаж мелкого инструмента 14, стеллажи 5 для укладки бурильных труб 4, приемные мостки 12, площадка отработанных долот 7 и площадка ловильного инструмента 10 (его используют для ликвидации аварий). Кроме того, вокруг буровой размещаются хозяйственная будка 8, инструментальная площадка 6, очистная система 15 для использованного бурового раствора и запасные емкости 16 для хранения бурового раствора, реагентов и воды.

Рисунок 2.29 — Типовая схема размещения оборудования, инструмента, запасных часте и материалов на буровой
Различают следующие методы монтажа буровых установок: поагрегатный, мелкоблочный и крупноблочный.
При поагрегатном методе буровая установка собирается из отдельных агрегатов, для доставки которых используется автомобильный, железнодорожный или воздушный транспорт.
При мелкоблочном методебуровая установка собирается из 16...20 мелких блоков. Каждый из них представляет собой основание, на котором смонтированы один или несколько узлов установки.
При крупноблочном методе установка монтируется из 2 ... 4 блоков, каждый из которых объединяет несколько агрегатов и узлов буровой.
Блочные методы обеспечивают высокие темпы монтажа буровых установок и качество монтажных работ. Размеры блоков зависят от способа, условий и дальности их транспортировки.
После этого последовательно монтируют талевый блок с крон-блоком, вертлюг и ведущую трубу, присоединяют к вертлюгу напорный рукав. Далее проверяют отцентрированность вышки: ее центр должен совпадать с центром ротора.
Подготовка к бурениювключает устройство направления и пробный пуск буровой установки.
Назначение направления описано выше. Его верхний конец соединяют с очистной системой, предназначенной для очистки от шлама бурового раствора, поступающего из скважины, и последующей подачи его в приемные резервуары буровых насосов.
Затем бурится шурф, для ведущей трубы и в него спускают обсадные трубы.
Буровая комплектуется долотами, бурильными трубами, ручным и вспомогательным инструментом, горюче-смазочными материалами, запасом воды, глины и химических реагентов. Кроме того, недалеко от буровой располагаются помещение для отдыха и приема пищи, сушилка для спецодежды и помещение для проведения анализов бурового раствора.
В ходе пробного бурения проверяется работоспособность всех элементов и узлов буровой установки.
Процесс буренияначинают, привинтив первоначально к ведущей трубе квадратного сечения долото. Вращая ротор, передают через ведущую трубу вращение долоту.
Во время бурения происходит непрерывный спуск (подача) бурильного инструмента таким образом, чтобы часть веса его нижней части передавалась на долото для обеспечения эффективного разрушения породы.
В процессе бурения скважина постепенно углубляется. После того как ведущая труба вся уйдет в скважину, необходимо нарастить колонну бурильных труб. Наращивание выполняется следующим образом. Сначала останавливают промывку. Далее бурильный инструмент поднимают из скважины настолько, чтобы ведущая труба полностью вышла из ротора. При помощи пневматического клинового захвата инструмент подвешивают на роторе. Далее ведущую трубу отвинчивают от колонны бурильных труб и вместе с вертлюгом спускают в шурф — слегка наклонную скважину глубиной 15 ... 16 м, располагаемую в углу буровой. После этого крюк отсоединяют от вертлюга, подвешивают на крюке очередную, заранее подготовленную трубу, соединяют ее с колонной бурильных труб, подвешенной на роторе, снимают колонну с ротора, опускают ее в скважину и вновь подвешивают на роторе. Подъемный крюк снова соединяют с вертлюгом и поднимают его с ведущей трубой из шурфа. Ведущую трубу соединяют с колонной бурильных труб, снимают последнюю с ротора, включают буровой насос и осторожно доводят долото до забоя. После этого бурение продолжают.
При бурении долото постепенно изнашивается и возникает необходимость в его замене. Для этого бурильный инструмент, как и при наращивании, поднимают на высоту, равную длине ведущей трубы, подвешивают на роторе, отсоединяют ведущую трубу от колонны и спускают ее с вертлюгом в шурф. Затем поднимают колонну бурильных труб на высоту, равную длине бурильной свечи, подвешивают колонну на роторе, свечу отсоединяют от колонны и нижний конец ее устанавливают на специальную площадку — подсвечник, а верхний — на специальный кронштейн, называемый пальцем. В такой последовательности поднимают из скважины все свечи. После этого заменяют долото и начинают спуск бурильного инструмента. Этот процесс осуществляется в порядке, обратном подъему бурильного инструмента из скважины.
Крепление скважины обсадными трубами и ее тампонажосуществляются согласно схемы, приведенной на рисунке 2.6. Целью тампонажа затрубного пространства обсадных колонн является разобщение продуктивных пластов.
2.7 МЕТОДЫ ВСКРЫТИЯ ПРОДУКТИВНЫХ ГОРИЗОНТОВ И ОСВОЕНИЯ СКВАЖИНЫ
Вскрытие пластов и освоение скважины должны быть проведены качественно.
В разрезе нефтяных и газовых месторождений встречается большое количество пористых пластов-коллекторов (песков, песчаников, известняков), разобщенных друг от друга глинами, мергелями, плотными песчаниками и другими породами. Эти пласты могут быть нефтеносными, газоносными, водоносными и сухими. Поэтому, особое внимание должно быть обращено на конструкцию забоя скважины.
В практике бурения применяют следующие основные конструкции забоев при заканчивании скважин (Рисунок 2.30).

Рисунок 2.30 — Схема конструкции забоев при заканчивании скважины
1 — обсадная колонна; 2 — фильтр; 3 — цементный камень; 4 — пакер; 5 — перфорационные отверстия;
6 — продуктивный пласт; 7 — хвостовик
Установка водозакрывающей колонны в кровле продуктивного горизонта и цементирование с последующим вскрытием пласта и спуском специального фильтра (Рисунок 2.30 б) или хвостовика (Рисунок 2.30 д). В некоторых случаях в устойчивых породах продуктивной части разреза фильтр или хвостовик не спускаются, и водозакрывающая колонна является эксплуатационной (Рисунок 2.30 а).
Полное вскрытие пласта со спуском комбинированной колонны с манжетной заливкой ее выше нефтеносного объекта и с фильтром в нижней части против пласта (Рисунок 2.30 в).
Полное вскрытие пласта со спуском колонны со сплошным цементированием и последующим простреливанием отверстий против продуктивных горизонтов (Рисунок 2.30 г).
Перечисленные методы направлены на то, чтобы не допустить закупорки пор и создать благоприятные условия для движения нефти из пласта в скважину.
Методы вскрытия пласта в зависимости от пластового давления, степени насыщенности пласта нефтью, степени дренирования и других факторов могут быть различными, но все они должны удовлетворять следующим основным требованиям:
¨ При вскрытии пласта с высоким давлением должна быть предотвращена возможность открытого фонтанирования скважины.
¨ При вскрытии пласта должны быть сохранены на высоком уровне природные фильтрационные свойства пород призабойной зоны. Если проницаемость пород мала, должны быть приняты меры по улучшению фильтрационных свойств призабойной зоны скважины.
¨ Должны быть обеспечены соответствующие интервалы вскрытия пласта, гарантирующие длительную безводную эксплуатацию скважин и максимальное облегчение притока нефти к забою.
В скважинах с высоким пластовым давлением должно осуществляться полное вскрытие пласта со всеми мерами предосторожности с последующим спуском эксплуатационной колонны со сплошной цементировкой и простреливанием отверстий против продуктивных горизонтов.
Перфорация обсадной колонны. Для вскрытия пластов с целью их эксплуатации или опробования в обсадной колонне и цементном кольце пробивают отверстия при помощи пулевой или беспулевой перфорации. Перфораторы, соединенные в гирлянды, спускают в скважину на каротажном кабеле. В камеры перфоратора закладывают заряд пороха и запал. При подаче тока по кабелю с поверхности порох воспламеняется и пуля с большой скоростью выталкивается из ствола перфоратора (Рисунок 2.31).
За один спуск и подъем перфоратор простреливает 6 – 12 отверстий пулями диаметром 11 – 11.5 мм.

Рисунок 2.31 — Пулевой перфоратор с вертикально-криволинейными стволами
Широкое распространение получила беспулевая перфорация. В этом случае отверстие в колонне создается не пулями, а фокусированными струями газов, которые возникают при взрыве кумулятивных зарядов (Рисунок 2.32).

Рисунок 2.32 — Устройство корпусного кумулятивного перфоратора ПК105ДУ
1 — взрывной патрон; 2 — детонирующий шнур; 3 — кумулятивный заряд; 4 — электропровод
Для улучшения связи скважины с продуктивным пластом может применяться гидропескоструйный метод вскрытия пласта. В скважину на колонне насосно-компрессорных труб спускают струйный аппарат, состоящий из корпуса и сопел (Рисунок 2.33). При нагнетании в трубы под большим давлением жидкость с песком выходит из сопел с большой скоростью и песок разрушает колонну, цементное кольцо и породу. Гидропескоструйная перфорация имеет ряд преимуществ перед другими методами: отверстия в колонне и цементе не имеют трещин, имеется возможность регулировать диаметр и глубину отверстий, можно создать горизонтальные и вертикальные надрезы. К недостаткам этого вида перфорации следует отнести большую стоимость и потребность в громоздком наземном оборудовании.

Рисунок 2.33 — Аппарат для пескоструйной перфорации АП-6М
1 — корпус; 2 — шар опрессовочного клапана; 3 — узел насадки; 4 — заглушка; 5 — шар клапана; 6 — хвостовик; 7 — центратор
После перфорации проводится освоение скважины,т.е. вызывают приток в нее нефти и газа. Для чего уменьшают давление бурового раствора на забой одним из следующих способов:
· промывка — замена бурового раствора, заполняющего ствол скважины после бурения, более легкой жидкостью — водой или нефтью;
· поршневание (свабирование) — снижение уровня жидкости в скважине путем спуска в насосно-компрессорные трубы и подъема на стальном канате специального поршня (сваба). Поршень имеет клапан, который открывается при спуске и пропускает через себя жидкость, заполняющую НКТ. При подъеме же клапан закрывается, и весь столб жидкости, находящийся над поршнем, выносится на поверхность.
От использовавшихся прежде способов уменьшения давления бурового раствора на забой, продавливания сжатым газом и аэрации (насыщения раствора газом) в настоящее время отказались по соображениям безопасности.
Таким образом, освоение скважины в зависимости от конкретных условий может занимать от нескольких часов до нескольких месяцев.
После появления нефти и газа скважину принимают эксплуатационники, а вышку передвигают на несколько метров для бурения очередной скважины куста или перетаскивают на следующий куст.
2.8 ПРОМЫВКА СКВАЖИН
Промывка скважин — одна из самых ответственных операций, выполняемых при бурении. Первоначально назначение промывки ограничивалось очисткой забоя от частичек выбуренной породы и их выносом из скважины, а также охлаждением долота. Однако по мере развития бурового дела функции бурового раствора расширились. Теперь сюда входят:
1. вынос частиц выбуренной породы из скважины;
2. передача энергии турбобуру или винтовому двигателю;
3. предупреждение поступления в скважину нефти, газа и воды;
4. удержание частичек разбуренной породы во взвешенном состоянии при прекращении циркуляции;
5. охлаждение и смазывание трущихся деталей долота;
6. уменьшение трения бурильных труб о стенки скважины;
7. предотвращение обвалов пород со стенок скважины;
8. уменьшение проницаемости стенок скважины, благодаря коркообразованию.
Соответственно буровые растворы должны удовлетворять ряду требований:
ü выполнять возложенные функции;
ü не оказывать вредного влияния на бурильный инструмент и забойные двигатели (коррозия, абразивный износ и т.д.);
ü легко прокачиваться и очищаться от шлама и газа;
ü быть безопасными для обслуживающего персонала и окружающей среды;
ü быть удобными для приготовления и очистки;
ü быть доступными, недорогими, допускать возможность многократного использования.
При вращательном бурении нефтяных и газовых скважин в качестве промывочных жидкостей используются:
¨ агенты на водной основе (техническая вода, естественные буровые растворы, глинистые и неглинистые растворы);
¨ агенты на углеводородной основе;
¨ агенты на основе эмульсий;
¨ газообразные и аэрированные агенты.
Техническая вода — наиболее доступная и дешевая промывочная жидкость. Имея малую вязкость, она легко прокачивается, хорошо удаляет шлам с забоя скважины и лучше, чем другие жидкости, охлаждает долото. Однако она плохо удерживает частицы выбуренной породы (особенно при прекращении циркуляции), не образует упрочняющей корки на стенке скважины, хорошо поглощается низконапорными пластами, вызывает набухание глинистых пород, ухудшает проницаемость коллекторов нефти и газа.
Естественным буровым растворомназывают водную суспензию, образующуюся в скважине в результате диспергирования шлама горных пород, разбуриваемых на воде.
Основное достоинство применения естественных буровых растворов состоит в значительном сокращении потребности в привозных материалах на их приготовление и обработку, что ведет к удешевлению растворов. Однако их качество и свойства зависят от минералогического состава и природы разбуриваемых глин, способа и режима бурения, типа породоразрушающего инструмента. Нередко в них велико содержание абразивных частиц. Поэтому естественные буровые растворы применяют в тех случаях, когда по геолого-стратиграфическим условиям не требуется промывочная жидкость высокого качества.
Глинистые буровые растворыполучили наибольшее распространение при бурении скважин. Для бурового дела наибольший интерес представляют три группы глинистых минералов: бентонитовые (монтмориллонит, бейделлит, нонтронит, сапонит и др.), каолиновые (каолинит, галлуазит, накрит и др.) и гидрослюдистые (иллит, бравиазит и др.). Наилучшими качествами с точки зрения приготовления бурового раствора обладают онтмориллонит и другие бентонитовые минералы. Так, из 1 тонны бентонитовой глины можно получить около 15 м3 высококачественного глинисого раствора, тогда как из глины среднего качества — 4 ... 8 м3, а из низкосортных глин — менее 3 м3.
Глинистые растворы глинизируют стенки скважины, образуя тонкую плотную корку, которая препятствует проникновению фильтрата в пласты. Их плотность и вязкость таковы, что растворы удерживают шлам разбуренной породы даже в покое, предотвращая его оседание на забой при перерывах в промывке. Утяжеленные глинистые растворы, создавая большое противодавление на пласты, предупреждают проникновение пластовых вод, нефти и газа в скважину и открытое фонтанирование при бурении. Однако по этим же причинам затруднено отделение частиц породы в циркуляционной системе бурового раствора.
Применяются также другие буровые растворы на водной основе: малоглинистые (для бурения верхней толщи выветрелых и трещиноватых горных пород), соленасыщенные (при бурении в мощных толщах соленосных пород), ингибированные (обработанные химреагентами для предупреждения набухания разбуриваемых пород и чрезмерного обогащения раствора твердой фазой) и т.д.
К неглинистымотносятся буровые растворы, приготовленные без использования глины. Безглинистый буровой раствор с конденсированной твердой фазой готовится на водной основе. Дисперсная фаза в нем получается химическим путем, в результате взаимодействия находящихся в растворе ионов магния с щелочью NaOH или Са(ОН)2. Химическая реакция приводит к образованию в растворе микроскопических частиц гидрооксида магния Mg(OH)r Раствор приобретает гелеобразную консистенцию и после химической обработки превращается в седиментационно устойчивую систему. Такой раствор сохраняет свои структурно-механические свойства при любой минерализации. Поэтому его применяют в случаях, когда требуется обеспечить высокую устойчивость стенок скважины, но обеспечить контроль и регулирование минерализации раствора сложно.
Другим типом неглинистых буровых растворов являются биополимерные растворы. Биополимеры получают при воздействии некоторых штаммов бактерий на полисахариды. Свойства биополимерных растворов регулируются так же легко, как свойства лучших буровых растворов из бентонитовых глин. Вместе с тем, некоторые из них оказывают флокулирующее воздействие на шлам выбуренных пород, предупреждая таким образом образование суспензии. Кроме того, растворы биополимеров термоустойчивы. Сдерживает их применение относительно высокая стоимость.
Буровые растворы на углеводородной основе представляют собой многокомпонентную систему, в которой дисперсионной (несущей) средой является нефть или жидкие нефтепродукты (обычно дизельное топливо), а дисперсной (взвешенной) фазой — окисленный битум, асфальт или специально обработанная глина (гидрофобизи-рованный бентонит).
Буровые растворы на углеводородной основе не оказывают отрицательного влияния на свойства коллекторов нефти и газа, обладают смазывающей способностью: при их использовании уменьшается расход мощности на холостое вращение бурильной колонны в стволе скважины и снижается износ бурильных труб и долот. Однако стоимость приготовления таких буровых растворов довольно высока, они пожароопасны, трудно удаляются с инструмента и оборудования.
Применяют буровые растворы на углеводородной основе для повышения эффективности бурения в породах-коллекторах и сохранения их нефтегазоотдачи на исходном уровне, а также для проводки скважин в сложных условиях при разбуривании мощных пачек набухающих глин и растворимых солей.
У эмульсионных буровых растворовдисперсионной средой является эмульсия типа «вода в нефти», а дисперсной фазой — глина.
Буровой раствор, приготовленный на основе эмульсии типа «вода в нефти», называется обращенным эмульсионным или инвертной эмульсией. Жидкая фаза такого раствора на 60 ... 70 % состоит из нефти или нефтепродуктов, остальное — вода. Однако содержание воды в инвертной эмульсии может быть доведено до 80 % и выше, если в нее ввести специальные эмульгаторы.
Эмульсионные буровые растворы используются при бурении в глинистых отложениях и солевых толщах. Они обладают хорошими смазочными свойствами и способствуют предупреждению прихвата инструмента в скважине.
Сущность бурения с продувкой газомзаключается в том, что для очистки забоя, выноса выбуренной породы на дневную поверхность, а также для охлаждения долота используют сжатый воздух, естественный газ или выхлопные газы двигателей внутреннего сгорания. Применение газообразных агентов позволяет получить большой экономический эффект: увеличивается механическая скорость (в 10 ... 12 раз) и проходка на долото (в 10 раз и более). Благодаря высоким скоростям восходящего потока в затрубном пространстве, ускоряется вынос выбуренных частиц породы. Использование газообразных агентов облегчает проведение гидрогеологических наблюдений в скважинах. Кроме того, увеличивается коэффициент нефтегазоотдачи пласта.
Аэрированные буровые растворыпредставляют собой смеси пузырьков воздуха с промывочными жидкостями (водой, нефтеэмуль-сиями и др.) в соотношении до 30:1. Для повышения стабильности аэрированных растворов в их состав вводят реагенты — поверхностно-активные вещества и пенообразователи.
Аэрированные буровые растворы обладают теми же свойствами, что и жидкости, из которых они приготовлены (для глинистых растворов — образуют глинистую корку, обладают вязкостью и напряжением сдвига, сохраняют естественную проницаемость призабойной зоны пласта при его вскрытии). Вместе с тем, большим преимуществом аэрированных жидкостей является возможность их применения в осложненных условиях бурения, при катастрофических поглощениях промывочных жидкостей, вскрытии продуктивных пластов с низким давлением.
Основными параметрами буровых растворовявляются плотность, вязкость, показатель фильтрации, статическое напряжение сдвига, стабильность, суточный отстой, содержание песка, водородный показатель.
Плотностьпромывочных жидкостей может быть различной: у растворов на нефтяной основе она составляет 890 ... 980 кг/м3, у малоглинистых растворов — 1050 ... 1060 кг/м3, у утяжеленных буровых растворов — до 2200 кг/м3 и более.
Выбор бурового раствора должен обеспечить превышение гидростатического давления столба в скважине глубиной до 1200 м над пластовым на 10 ... 15 %, а для скважин глубже 1200 м — на 5 ... 10 %.
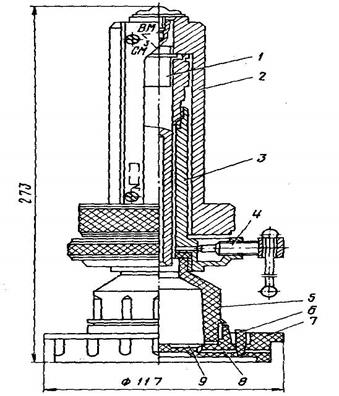
Определение величины плотности раствора производится прибором АБР-1 (Рисунок 2.34).
Вязкостьхарактеризует свойство раствора оказывать сопротивление его движению и определяется с помощью «воронки МАРША» (Рисунок 2.35).
|
|
| Рисунок 2.34 — Прибор АБР – 1 | Рисунок 2.35 — Воронка МАРША, для определения условной вязкости |
Показатель фильтрации— способность раствора при определенных условиях отдавать воду пористым породам. Чем больше в растворе свободной воды и чем меньше глинистых частиц, тем большее количество воды проникает в пласт. Фильтрация глинистого раствора определяется с помощью прибора ВМ-6 (Рисунок 2.36).
Статическое напряжение сдвигахарактеризует усилие, которое требуется приложить, чтобы вывести раствор из состояния покоя.
Стабильностьхарактеризует способность раствора удерживать частицы во взвешенном состоянии. Она определяется величиной разности плотностей нижней и верхней половин объема одной пробы после отстоя в течении 24 ч. и определяется с помощью цилиндра ЦС – 2 (Рисунок 2.37). Для обычных растворов ее величина должна быть не более 0.02 г/см3, а для утяжеленных — 0.06 г/см3.
|
|
| Рисунок 2.36 — Конструкция прибора ВМ – 6 | Рисунок 2.37 — Цилиндр стабильности ЦС – 2 |
Суточный отстой — количество воды, выделяющееся за сутки из раствора при его неподвижном хранении (Рисунок 2.38). Для высокостабильных растворов величина суточного отстоя должна быть равна нулю.
Содержание песка — параметр, характеризующий содержание в растворе частиц (породы, не разведенных комочков глины), не способных растворяться в воде. Его измеряют по величине осадка, выпадающего из бурового раствора, разбавленного водой, после интенсивного взбалтывания (Рисунок 2.39). В хорошем растворе содержание песка не должно превышать 1 %.
|
|
| Рисунок 2.38 — Прибор для определения суточного отстоя | Рисунок 2.39 — ОМ – 2 |
Величина водородного показателярН характеризует щелочность бурового раствора. При рН>7 раствор щелочной, при рН=7 — нейтральный, при рН<7 — кислый.
Дата добавления: 2015-07-14; просмотров: 1674;
