Комбинированный кипятильник
Питьевая вода в пассажирских вагонах приготавливается в кипятильниках непрерывного действия с комбинированным (электрическим и угольным) отоплением. Кипятильник обладает особым устройством, позволяющим отбирать только кипяченую воду. Это важно повсюду, где отсутствует специальная система водоподготовки. К бытовым узлам, связанным в той или иной степени с системой водоснабжения, относятся комбинированные кипятильники, компрессор для перекачки воды в охладитель питьевой воды, сам охладитель и связанный с ним бытовой холодильник.
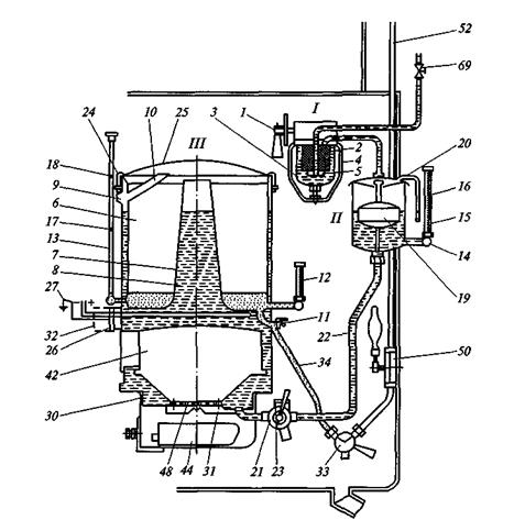
В пассажирских вагонах используются кипятильники четырех основных типов. На рисунке 2 приведена схема кипятильника типа КС-30/4.

Рисунок 2 – Схема комбинированного кипятильника типа КС-30/4
I – трехходовой кран с фильтром сырой воды; II – регулятор сырой воды;
III – кипятильник; 1 – трехходовой кран на трубопроводе холодной воды;
2 – сетка; 3 – стеклянный колпак; 4 – скоба; 5 – гайка фильтра;
6 – сборник кипяченой воды; 7– воронка; 8 – кипятильный бак;
9 – переливной патрубок; 10 – пароотводная труба; 11 – кран отбора кипяченой воды; 12 – термометр кипяченой воды; 13, 14 – водомерные стекла для кипяченой и сырой воды; 15, 16 – соответственно нижняя и верхняя отметки уровня воды в регуляторе сырой поды; 17, 18– отметки на водомерном стекле; соответствующие объемам воды в кипятильнике 12 и 14 л;
19 – поплавок регулятора сырой воды; 20– переливная груба;
21 – спускной кран; 22 – приточный трубопровод к поплавковой камере; 23 – место присоединения приспособления для смягчения воды; 24 – крючок; 25– крышка; 26– ТЭН; 27– заземление ТЭНа; 30, 31 – винты; 32– запорный колпак; 33 – трехходовой кран; 34 – трубопровод для перекачки в бак кипяченой воды и ускоренного ее слива; 42 – камера сгорания; 44 – зольник;
48 – колосниковая решетка; 50 – ручной насос к баку кипяченой воды;
52 – трубопровод; 69 – вентиль
Конструктивно все кипятильники, кроме типа КС-30/9, не отличаются друг от друга. Они имеют топку и горизонтально расположенные трубчатые электрические нагреватели (ТЭН). В кипятильнике КС-30/9 имеются только ТЭНы. На всех вагонах ТЭНы работают только при подключении генератора на нагрузку (при скоростях движения более 35...45 км/ч). Перед подачей поезда на посадку проводники должны растапливать кипятильники, применяя для этого древесный уголь или торфобрикеты. Топливо укладывают в топку на колосники. Люки топочной камеры и зольники должны быть закрыты крышками. Вода из системы водоснабжения поступает в кипятильник через вентиль 69 (рис. 3.6), который должен быть всегда открыт и опломбирован (после ремонта или ревизии его вновь пломбируют). Трехходовой кран /на фильтре сырой воды необходимо поставить в положение «Сырая вода», а спускной кран 21 в положение «Закрыто». Уровень воды в кипятильном баке 8 следует контролировать по водомерному стеклу 14 регулятора сырой воды II. Уровень воды должен достигнуть нижней красной отметки 15 — тогда кипятильный бак будет наполнен. Запорные вентили на водомерных стеклах 13 и 14 должны быть при этом открыты. Закрывать их можно только при повреждении водомерных стекол. Необходимо постоянно помнить, что при отсутствии воды нельзя растапливать кипятильник и включать электропитание.
Перед каждым включением или растопкой нужно проверить: есть ли вода в кипятильном баке; обеспечивается ли бесперебойный приток сырой воды (водяной бак должен быть достаточно наполнен водой); открыт ли вентиль 69 в подводящем трубопроводе холодной воды; поставлен ли трехходовой кран / в положение «Сырая вода»; закрыт ли спускной кран 21; открыты ли запорные вентили на водомерных стеклах 13 и 14.
Длительность нагрева зависит от начальной температуры воды и вида нагрева (электрический или твердым топливом).
Кипятильник включают тумблером на передней панели распределительного шкафа в служебном отделении. Включение подтверждается загоранием сигнальной лампы.
При отоплении твердым топливом (древесным углем, торфобрикетами) необходимо на колосниковую решетку 48 камеры сгорания 42 кипятильника положить немного бумаги, на нее стружку, мелко наколотые дрова и затем разжечь. После того как стружка загорится, камеру сгорания следует заполнить древесным углем (торфобрикетами), а огнеупорную дверь камеры закрыть. Если древесный уголь загорится, необходимо закрыть дверь зольника 44. Поступление воздуха регулируют задвижкой на двери зольника, древесный уголь добавляют по необходимости.
Когда уровень воды в водомерном стекле 13 достигнет отметки 17, что указывает на наличие 12 л кипяченой воды в сборнике 6, необходимо прервать процесс отопления, закрыв задвижку в двери зольника 44. После того как огонь погаснет, трехходовой кран / следует перевести в положение «Закрыто».
По мере расхода питьевой воды из сборника питьевой воды 6 отопительный процесс возобновляют.
При электрическом нагреве для его прерывания нужно выключить питание нагревательных элементов и трехходовой кран / перевести в положение «Закрыто».
Кипятильник всегда должен быть исправным. Рекомендации по устранению неисправностей даны в табл. 3.8 (номера позиций соответствуют рис. 3.6).


Меры предосторожности при работе с комбинированным кипятильником:
Категорически запрещается включать электрокипятильник без воды. Для нормальной работы кипятильника необходимо регулярно очищать от грязи стеклянный колпак 15 и фильтр 14 водоотстойника. Делать это нужно при открытом трехходовом кране 13 на неработающем кипятильнике.
Запорные краны 4 и 20 водомерных стекол следует держать всегда открытыми; закрывают их только в случае поломки стекол.
При перерывах в работе кипятильника трехходовой кран 13 необходимо переключать в положение «Закрыто». Перед включением кипятильника трехходовой кран 13 нужно переключить в положение «Сырая вода», а спускной кран 25 закрыть. После длительных перерывов (8-12 ч) оставшуюся в кипятильнике воду надо слить через спускной и водоразборный краны и залить свежую. Через каждые пять-шесть дней из кипятильника следует удалять осадок, сливая воду из кипятильного пространства, после чего рекомендуется промыть кипятильное пространство, заполняя его водой.
Возможные неисправности кипятильника, их причины и способы устранения:
– слишком мало или совсем нет воды в кипятильнике из-за отсутствия воды в системе водоснабжения или сильной загрязненности сетчатого фильтра. (Необходимо про фильтр или залить систему водой);
– не закрывается поплавковый клапан, вода выливается через сливную трубу клапана. Причины: повреждение уплотняющей шайбы, нарушение герметичности поплавка (тонет) или заедание оси поплавка. Нужно заменить уплотняющую шайбу или поплавок;
– не нагревается вода из-за отсутствия электроэнергии. Нужно проверить электрическую цепь и устранить ее неисправности;
– вода нагревается медленно вследствие выхода из строя части элементов. Нужно заменить неисправные элементы, отключив источник тока; нижние нагревательные элементы можно заменить лишь после слива воды из кипятильного пространства.
В настоящее время все вагоны оборудуются унифицированными кипятильниками, у которых электронагревательные элементы установлены в нижней части кипятильного пространства, что повышает надежность их работы.
Дата добавления: 2015-08-26; просмотров: 3058;
