Мал. 9.1. Фара

Рефлектор із скло- розсіювачем в зборі кріпиться ободом і гвинтами до корпусу оптичної системи, який, у свою чергу, кріпиться до основного корпусу фари регулювальними гвинтами і пружинами.
Напрям світлового потоку регулюють обертанням гвинтів, якими змінюють положення оптичної системи в корпусі фари. Протитуманні фарипризначені для освітлення дороги попереду автомобіля в умовах туману, дощу або снігопаду. Вони відрізняються від звичних фар широким розсіюванням світлового потоку в горизонтальній площині і чіткішою верхньою межею світлового пучка, а також установкою жовтого світлофільтру.
Фари легкових автомобілівкомпануются в блок-фару.
Мал. 9.2.
Блок-фара автомобіля
ВАЗ-2109:
1 — рефлектор; 2 — нижня опора рефлектора; 3 — обмежувач щітки очищувача фари; 4 і 8 — нижній і верхній утримувачі рефлектора;
5 — розсіювач; 6 — розсіювач покажчика повороту; 7— лампа;
9 і 11 — стягнута і поворотна пружини важеля; 10— важіль; 12 і 17— гвинти вертикального і горизонтального регулювання світла фари; 13 — кожух;
14 — галогенова лампа; 75 і 23— екрани; 16— лампа габаритного світла;
18— шпилька кріплення блок-фари; 19 — корпус фари; 20 — колба;
21 і 22 — нитки дальнього і ближнього світла; 24 — фіксуючий фланець.
Блок-фара автомобіля ВАЗ-2109(мал. 9.2.) включає прямокутну фару з лампами основного і габаритного світла, що блокується з ліхтарем покажчика повороту з розсіювачем оранжевого кольору. Спереду фари до пластмасового корпусу приклеєний розсіювач з безбарвного скла, з внутрішньої сторони якого виконана складна система призм і лінз.
У задній частині корпусу фари встановлений рефлектор, виготовлений із сталі. Для створення дзеркальної поверхні, що відображає, він покритий термостійким спеціальним лаком і тонким шаром алюмінію. У рефлекторі перед лампою встановлюється екран, що забезпечує чіткішу межу пучка ближнього світла.
Напрям пучка світла фари можна регулювати в горизонтальній і вертикальній площині гвинтами регулювання. Для регулювання пучка світла фар залежно від навантаження встановлюється ручний гідрокоректор, керований з місця водія поворотом рукоятки.
Гідрокоректорскладається з робочого циліндра, встановленого на панелі приладів, виконавчих циліндрів, укріплених на фарах, і сполучних трубок. Циліндри і трубки заповнені спеціальною низькозамерзаючою рідиною. Гідрокоректор нерозбірний і у разі несправності замінюється новим.
Для позначення габаритів автомобіля в нічний час при русі і на стоянці служать підфарники,які розміщуються на передніх крилах в гніздах і можуть бути суміщені з передніми покажчиками поворотів.
Підфарники складаються з штампованого або литого корпусу, скла, обода з прокладкою, патрона і лампи (мал. 9.8).
Задні ліхтаріслужать для позначення габариту автомобіля і освітлення номерного знаку. Разом із задніми ліхтарями можуть поєднуватися стоп-сигнал і покажчик поворотів. Ліхтарі бічного повторювача(мал. 9.5) покажчика поворотів встановлюють на передніх крилах. Розсіювач — оранжевого кольору.
Задній ліхтар(мал. 9.4) вантажних автомобілів складається з корпусу, обода, заднього червоного і бічного безбарвного стекол, патрона і двохнитьової лампи. Одна нитка лампи через бічне скло освітлює номерний знак і дає сигнальне світло, інша нитка більшої світлової сили спалахує при гальмуванні.
Задній ліхтаравтомобіля ВАЗ-2109 (мал. 9.5) складається з підстави, на якому встановлюються лампи, розсіювача і захисний кожух. Ліхтар кріпиться до кузова на шпильках за допомогою гайок. Він має секції з лампами габаритного світла, світла заднього ходу, сигналів гальмування і повороту, а також протитуманного ліхтаря. Підстава є платнею з патронами для ламп і вивідною клемою для під'єднування колодки з пучком дротів. На розсіювачі є вбудований світловідбивач. Лівий ліхтар є дзеркальним віддзеркаленням правого.
Мал. 9.3. Передній (лівий) підфарник

Мал. 9.4. Задній ліхтар вантажного автомобіля
На даху кабіни автомобілів-тягачів встановлюються три пізнавальні ліхтаріавтопоїзда з оранжевим світлофільтром. Для освітлення дороги при русі автомобіля заднім ходом встановлюють ліхтарі задньогоходу з вимикачем, суміщеним з механізмом перемикання передач.
Для освітлення контрольно-вимірювальних приладів в нічний час на щитку встановлюються лампи невеликої світлосили. Кабіну вантажного і салон легкового автомобілів освітлюють плафони, що складаються з корпусу, патрона з лампою, обода і матового скла (мал. 2.42) . Двигун при ремонті і огляді в нічний час освітлює підкапотна лампа. Переносна лампа складається з корпусу з рефлектором, патрона, лампи, шнура з вилкою. Для включення переносної лампи на автомобілі встановлюють одну або декілька штепсельних розеток.

Мал. 9.5. Задній ліхтар автомобіля ВАЗ-2109:
1 — розсіювач, 2 і 7— лампи, 3 — підстава, 4 — кожух, 5 — гайка, 6 — патрон.
Мал. 9.6. Бічний повторювач покажчика повороту автомобіля:
1 — корпус; 2 — розрізний утримувач;
3 — штекер з патроном лампи;
4 — лампа; 5 — розсіювач
Мал. 9.7. Ліхтар освітлення салону
автомобіля:
1 — розсіювач;
2 — пальчикова лампа;
3 — фіксатори;
4 — вимикач;
5 — корпус
3.Перемикачі світла, показчики повороту і сигналізатори.
Перемикач світла. Фари, габаритні вогні (підфарники і задні ліхтарі) включаються центральним перемикачем на щитку приладів або за допомогою комбінованого перемикача (мал. 9.8), розташованого на рульовому коліні під рульовим колесом.
Центральний перемикач (мал. 9.9) повзункового типу служить для включення фар і габаритних вогнів автомобіля, для чого необхідно переміщати за допомогою тяги колодку з контактними пластинами. Перемикач має три положення:

Мал. 9.8. Комбінований перемикач

Мал. 9.9. Центральний перемикач світла:
а— перше положення; 6— друге положення; в— третє положення; г — деталі перемикача
перше— початкове положення — освітлення вимкнене, тяга з рукояткою всуває повністю;
друге— середнє положення — включені підфарники або ближнє світло фар (залежно від положення ножного перемикача світла), задні ліхтарі і освітлення щитка приладів;
третє— тяга висунута повністю — включені фари (ближнє або дальнє світло залежно від положення ножного перемикача), задні ліхтарі, підфарники і освітлення щитка приладів.
Яскравість освітлення щитка приладів регулюють реостатом при повороті ручки перемикача.

Мал. 9.10. Ножний перемикач світла
Перемикання світла фар з дальнього на ближній і навпаки здійснюють ножним перемикачем (ГАЗ 53-12), або комбінованим перемикачем (КамАЗ, ЗІЛ-130 і легкові автомобілі).
Ножний перемикач (мал. 9.10) складається з корпусу, кришки з контактами, контактного диска, штока і поворотної пружини.
Покажчики повороту.Для попередження про майбутній маневр автомобілі обладнані покажчиками поворотів, що подають імпульсний сигнал. Звичайно ці покажчики суміщені з підфарниками і задніми ліхтарями.
Світловий покажчик поворотів складається з перемикача і переривника (реле). На автомобілях застосовують електромагнітно-теплові переривники струму. Такий переривник (мал. 9.11) складається з сердечника з обмоткою, двох якорів, чотирьох срібних контактів, ніхромової струни, резистора.
Лівий якір і два контакти замикають і розмикають ланцюг сигнальних ламп, а правий додатковий якір з контактами забезпечує роботу контрольної лампи.
При замиканні перемикачем ланцюга сигнальних ламп струм від джерела поступає через обмотку, минувши контакти (вони розімкнені), на резистор і ніхромову струну, лівий якір, лампи і на «масу» автомобіля. Оскільки струм проходить через резистор і струну, напруження нитки лампи буде невелике, а струна під дією струму нагрівається, подовжується і дає можливість лівому якорю підтягтися до сердечника, а контактам замкнутися. При такому положенні струм на лампи поступає через замкнуті контакти, минувши резистор, і вони світитимуться яскравим світлом. Знеструмлена струна, охолоджуючись, коротшатиме і знову розімкне контакти; при цьому напруження нитки лампи знов зменшиться. Замикання і розмикання контактів, а отже, і мигання сигнальних ламп покажчиків поворотів, поки вони включені, відбуватиметься 60—120 разів на хвилину.

Мал. 9.11. Світловий покажчик повороту
При збільшенні сили струму в обмотці сердечника (тобто при замкнутих лівих контактах) додатковий якір притягується і замикає контакти ланцюга контрольної лампи. Після розмикання лівих контактів сила струму в обмотці сердечника зменшується, і праві контакти розімкнуться. На сучасних автомобілях покажчик поворотів часто суміщений з системою аварійної сигналізації, при включенні якою спеціальною кнопкою на панелі приладів мигають всі покажчики поворотів автомобіля.
Отримання миготливого світла досягається за рахунок контактно-транзисторного переривника.
Переривник покажчика поворотів і аварійноїсигналізації. Переривник призначений для отримання імпульсного світлового сигналу при поворотах автомобіля (при включеному покажчику повороту) і для отримання переривистої світлової сигналізації всіх ламп покажчиків поворотів при аварійному стані автомобіля (при включеному вмикачі аварійному сигналізації).
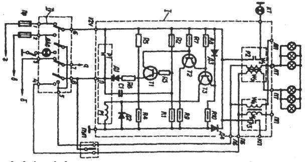
Електрична схема переривника РС-950 показана на мал. 9.12.
Схема переривника є електронним генератором прямокутних імпульсів струму з електротехнічним зворотним зв'язком, здійснюваним за допомогою контактів виконавчого електромагнітного реле.
У переривнику використано три транзистори і чотири діоди. Транзистор Т1 (власне генератор релаксації) включений по мостовій схемі з метою зменшення впливу імпульсів напруги, при живленні від одного генератора без акумулятора. Транзистор Т2 працює в режимі емітерного повторювача, а транзистор Т3 — в режимі підсилювача потужності. У роботі генератора використовується один перезарядний конденсатор типа К50-3.
У початковому стані, коли не підключені лампи покажчиків повороту, транзистор Т1 закритий. Цей стан транзистора забезпечується дільником напруги, що складається з резисторів К1 і К2.В закритому стані знаходяться і транзистори Т2 і Т3. При підключенні ламп покажчиків повороту емітер транзистора Т1 підключається до мінуса джерела живлення через нитки ламп, діод Д1 і резистор

Мал. 9.12. Електрична схема переривника покажчиків повороту РС-950 в нормальному і аварійному режимах:
I — реле в зборі; II — вмикач аварійної сигналізації; ЛТ — лампи покажчиків повороту лівої сторони; ПТ — лампи покажчиків повороту правої сторони; ЛП, ПП — для підключення ламп покажчиків повороту причепа; КТ — контрольна лампа на щитку приладів; КП — для підключення контрольної лампи причепа; Р2, РЗ — реле контролю; W2, W3, W4, W5 — обмотки реле контролю; ПБ — права сторона; ЛБ — ліва сторона; Д1, Д4 — діод КД 105А; Т1— транзистор КТ 315А, Т2, ТЗ — транзистор МП25А; R1 — резистор подстроєчний МЛТ-0,5-6,8 кОм; R2— резистор МЛТ-0,5-8,2 Ом; R3, R7— резистор МЛТ-0,5-510 Ом; R4 — резистор МЛТ-0,5-240 Ом; R5 — резистор МЛТ-1-240 Ом; R6 — резистор МЛТ-0,5-51 Ом; R8 - резистор МЛТ-0,5-200 Ом; RK9 - резистор МЛТ-0,5-390 Ом; R10 — резистор МЛТ-0,5-1 кОм; С1 — конденсатор К-50-3-25-50; Р1 — реле старанне; ПУП— перемикач покажчиків повороту; ЛАС— лампа аварійної сигналізації; П — до середньої клеми перемикання; а — до вмикача габаритних вогнів; б— підключається в ланцюг при застосуванні дворежимних ліхтарів; у — до джерела живлення; г — до вмикача запалення К6. База транзистора Т1 по відношенню до емітера виявляється під позитивним потенціалом. Транзистор Т1, отже, і транзистори Т2 і ТЗ відкриваються. Виконавче реле Р1 спрацьовує, і за допомогою його контактів на сигнальні лампи подається «плюс» напруги джерел живлення. При цьому починається заряд конденсатора С1, струм якого утримує транзистор Т1 у відкритому стані. Після закінчення деякого часу величина струму заряду стане недостатньою для утримання транзистора у відкритому стані і він закриється. Транзистори Т2 і ТЗ теж закриються. Реле Р1 вимкнеться. Контакти розімкнуться. Конденсатор С1 почне розряджатися, утримуючи транзистор Т1 в закритому стані. Після розряду С1 цикл повториться. Діод Д1 служить для запобігання попаданню позитивного потенціалу напруги живлення на емітер транзистора Т1. Діод Д2 служить для шунтування струму ЕРС обмотки реле Р1. Діод ДЗ служить для отримання замикаючої напруги на базі транзистора ТЗ. Діод Д4 служить для шунтування зворотних викидів напруги живлення, що утворюються при зміні навантаження в схемі електроустаткуванні автомобіля.
Вимикач сигнальних ліхтарівгальмування робочої гальмівної системи, встановлюваний на більшості легкових автомобілів (мал. 9.13), діє автоматично при натисненні на гальмівну педаль. При цьому шток (1), що ковзає в штуцері (2), переміщається вліво, і під дією пружин (5) і (7) відбувається замикання між собою штекерних контактів (5) за допомогою встановленого в ізолюючій підставі рухомого контакту (б). Вимикач укручений в кронштейн осі педалі. Штекерні контакти, ізольовані ковпачком (4), з'єднуються з джерелом струму. Полярність приєднання дротів значення не має. Встановлювані вимикачі можуть відрізнятися по конструктивному виконанню, але аналогічні по пристрою і принципу дії.

Мал. 9.13. Вимикач сигнальних ліхтарів гальмування:
1— шток; 2— штуцер; 3 і 7— пружини;
4— ізолюючий ковпачок; 5 — штекерний контакт; 6 — рухомий контакт
Вимикач сигнальних ліхтарів гальмування з гідравлічним приводом (мал. 9.14 а)встановлений на головному гальмівному циліндрі. При натисненні на педаль гальма рідина під тиском поступає під діафрагму і прогинає її. Діафрагма через шток переміщає контактну пластину і замикає електричні ланцюги «стоп-сигналу» — лампи спалахують. При розгальмовуванні, коли тиск рідини припиняється, пружина віджимає контактну пластину, і ланцюг розмикається.

Мал. 9.14. Вимикач стоп-сигналу на автомобілях з приводом гальм:
а — гідравлічним; б — пневматичним
На автомобілях з пневматичним приводом гальмівних механізмів вимикач сигнальних ліхтарів гальмування встановлений на гальмівному крані або після нього. По своєму пристрою (мал. 9.14 б)цей вимикач подібний гідравлічному, але на відміну від нього на діафрагму чинить тиск не рідина, а стисле повітря.
Датчик аварійного рівня гальмівної рідинивстановлюється на горловину компенсаційного бачка головного гальмівного циліндра або розташовується в роздільному бачку, сполученому з головним гальмівним циліндром шлангом (мал. 9.15). При пониженні рівня гальмівної рідини в компенсаційному бачку поплавець опускається і замикає контакти датчика, сигналізуючи водію про підтікання рідини в гальмівній системі.
Мал. 9.15. Гальмівний бачок і датчик аварійного рівня гальмівної рідини:
1 і 3 — нерухомий і рухомий контакти;
2 — захисний ковпачок; 4 — підстава датчика;
5 — кільце ущільнювача; б — кришка бачка;
7— відбивач; 8 — штовхач;
9 — хомут кріплення бачка; 10 — поплавець;
11 — бачок; 12 — хомут; 13 — шланг.
Блок сигналізаторів.На автомобілі ЗІЛ-130 встановлені два блоки сигналізаторів. Один з блоків виконаний друкарською платнею і має сигналізатори ліхтарів автопоїзда і включення покажчиків повороту тягача і причепа. Другий блок на діодах і має сигналізатори падіння тиску в контурах гальмівних систем і включення гальмівної системи стоянки.
Автомобіль КамАЗ оснащений двома блоками сигнальних ламп: контролю дії покажчика повороту автомобіля і причепа; механізму блокування міжосьового диференціала; включення електрофакельного пристрою передпускового підігрівача; включення гальма стоянки; падіння тиску в кожному гальмівному контурі і сигналізатором засмічення фільтруючих елементів очищення масла.
Блоки забезпечені кнопковими вимикачами для перевірки справності сигнальних ламп. Крім сигнальних ламп в ланцюзі сигналізаторів падіння тиску, в контури гальмівних систем включені зумери звукової сигналізації падіння тиску повітря.
4. Джерела світла.
Як джерело світла в світлових приладах автомобілів використовують електричні лампи розжарювання. Підчас протікання електричного струму нитка розжарювання лампи нагрівається і за певної температури починає випромінювати світло. Енергія світлового випромінювання, що її сприймає людське око, становить тільки невелику частину електричної енергії, яку споживає лампа. Велика частина її виділяється у вигляді теплоти.
Автомобільна лампа (рис.9.16) складається з колби 1, однієї-двох ниток розжарювання 2 і 3, цоколя 7 з фокусувальним фланцем 5 чи без нього і виводів 6. Нитки розжарювання в двониткових лампах мають різне функціональне призначення, забезпечуючи роботу автомобільних фар головного освітлення в режимах близького і далекого світла.

Рис.9.16. Автомобільні лампи розжарювання:
а — лампи головного освітлення з європейською асиметричною системою світлорозподілу; б, в і г — галогенні категорії НІ, НЗ і Н4 відповідно;
д, е — відповідно дво-та однониткові штифтові,
є — пальчикова; ж — софітна;
1 — колба; 2, 3 — нитки далекого та близького світла відповідно; 4 — екран;
5 — фокусувальний фланець; 6 — виводи; 7 — цоколь
Нитка розжарювання має витримувати високі температури і мати малі розміри. Тому її виготовляють з тонкого вольфрамового проводу, звитого в циліндричну спіраль. Спіраль прикріплюють до електродів так, щоб вона мала вигляд прямої лінії чи дути кола. Тугоплавкий вольфрам має температуру плавлення 3380 °С. Спіраль нагрівають до температури 2300..2700 °С. З підвищенням температури спіралі збільшуються яскравість і світлова ефективність випромінювання лампи. Проте при температурах понад 2400 °С вольфрам починає інтенсивно випаровуватися й, осідаючи на стінках скляної колби, утворює темний наліт, який зменшує світловий потік лампи.
Вольфрам інтенсивніше випаровується у вакуумних лампах, тому, коли вони мають потужність понад 3 Вт, їх заповнюють сумішшю інертних газів аргону та азоту чи криптону та ксенону. Завдяки великому тиску інертних газів у колбі газонаповненої лампи припустима вища температура нагрівання спіралі, а це дає змогу збільшити світлову ефективність до 14...18 лм/Вт із терміном служби 125...200 год.
Підвищити температуру нитки розжарювання до 2700...2900°С можна в галогенних лампах, які мають світлову ефективність на 50—60 % більшу, ніж лампи звичайного типу. Колбу галогенної лампи заповнюють інертним газом і невеликою кількістю пари йоду чи брому. В цих лампах частинки вольфраму, осівши на стінки колби після випаровування нитки розжарювання, сполучаються з парою йоду й утворюють йодистий вольфрам. Потрапляючи до колби з кварцового скла, що має температуру 600...700 °С, вольфрам випаровується, дифузує в зону високої температури навколо нитки розжарювання й розпадається на вольфрам та йод. Вольфрам осідає назад на нитку, а пара йоду залишається в газовому просторі колби.
Від звичайних ламп розжарювання галогенні відрізняються меншими розмірами колби і підвищеною яскравістю нитки. Оскільки вольфрам не осідає на поверхню колби, то вона прозора протягом усього терміну служби лампи.
Цоколь призначений для прикріплювання лампи в патроні світлового приладу та підведення енергії від джерела до електродів, які з'єднують контакти цоколя з нитками розжарювання. Автомобільні лампи (рис. 9.16) мають штифтові або фланцеві цоколі різної конструкції. У першому випадку важко забезпечити точне розташування нитки розжарювання відносно штифтів і не можна надійно зафіксувати лампу в патроні. Тому такі лампи застосовують здебільшого у світлових приладах, до світлотехнічних характеристик яких не ставлять твердих вимог.
Аби точно зафіксувати нитки розжарювання відносно фокуса параболічного відбивача, лампи автомобільних фар обладнують фокусувальним фланцевим цоколем. У конструкції фланця обов'язково передбачають елемент, який дає змогу вставляти лампу в нього тільки в одному певному положенні. Вібраційні навантаження на нитку розжарювання та пристрій для закріплення лампи в патроні знижують еластичним підвішуванням патрона чи світлового приладу на автомобілі.
Сила струму, що його споживає лампа, світловий потік і світлова ефективність випромінювання залежать від напруги джерела електроенергії. З її підвищенням відносно розрахункового значення ці показники збільшуються, проте різко скорочується термін служби лампи. Із зниженням напруги нитка розжарювання нагрівається менше, тому світловий потік і світлова ефективність випромінювання зменшуються. Коли напруга спадає на 50...60%, то лампа практично не випромінює світла.
Промисловість випускає лампи з номінальною напругою 6, 12 та 24 В, але їх розрахункова напруга вища і становить відповідно 6,3...6.75; 12,8.,.13,5 і 28 В.
Лампи розжарювання розрізняють за призначенням і електричними та світлотехнічними параметрами.
У позначенні автомобільних ламп (наприклад, А12-45+ 40) літера А вказує на тип лампи (автомобільна); перше число — номінальна напруга (6,12 або 24 В); друге і третє, сполучені знаком «+», — споживану потужність ниток розжарювання (на однонитковій лампі зазначають одне число). Для галогенних ламп додатково вводять літери К (кварцова) і Г (галогенна), наприклад АКГ12-60+55. Модифікацію лампи визначає третє або четверте число, написане через дефіс.
Галогенні лампи поділяють на чотири категорії: Н1, Н2, НЗ і Н4. В однониткових лампах категорії Н1 та Н2 нитку розжарювання у вигляді прямого циліндра розміщено вздовж осі цоколя. Нитку розжарювання лампи категорії НЗ закріплено на електродах перпендикулярно до осі цоколя. Лампи категорії Н4 мають нитки далекого й близького світла і призначені для фар з європейською системою світлорозподілу. Проте така лампа не взаємозамінна з лампою категорії Н2, оскільки потребує зміни конструкції розсіювача. В галогенних лампах усіх категорій конструкції цоколів різні. Відповідно до вимог міжнародних норм галогенні лампи мають спеціальні фланці, через які їх не можна застосовувати в звичайних фарах головного освітлення.
Промисловість випускає двониткові галогенні лампи АКГ12-60-55 та АКГ24-75+70 (категорії Н4) для головних фар з європейським світлорозподілом і однониткові лампи АКГ12-55, АКГ24-70 (категорії Н1) і АКГ12-55-1, АКГ24-70-1 (категорії НЗ) для прожекторів та протитуманних фар.
5. Основні несправності системи освітлення.
У системі освітлення і світлової сигналізації можуть виникати такі несправності:
1. Уся система освітлення не працює; причина — обривання спільного для всіх приладів освітлення проводу або перегоряння запобіжника системи освітлення внаслідок короткого замикання. В цьому разі потрібно вимкнути всі прилади освітлення та замінити запобіжник. Потім, поступово вмикаючи прилади освітлення, слід з'ясувати, чи справна система. Коли після ввімкнення певного споживача запобіжник знову згоряє, то це означає, що в колі даного споживача виникло коротке замикання. Коли ж у цьому разі прилади освітлення не працюють, це свідчить про обривання кола, спільного для всіх приладів освітлення, тобто від амперметра до головного перемикача або в самому перемикачі.
2. Не горять окремі лампи; причина — перегоріли нитки лампи або поганий контакт у патроні лампи, перемикачах, на з'єднувальних панелях і обривання чи від'єднання проводу. Нитки розжарення ламп часто перегоряють, коли підвищується напруга в системі енергопостачання, а також коли дуже вібрують лампи через те, що погано закріплені в патронах, оптичний елемент — у корпусі або фари (ліхтар) загалом. Потрібно перевірити і відрегулювати регулятор напруги та закріпити гвинти кріплення оптичних елементів і фар.
3. Зменшилася сила світла приладів освітлення; причина — забруднення відбивача та розсіювача оптичного елемента, затьмарення колби лампи, поганий контакт лампи в патроні, окислення контактних пластин у вимикачах і перемикачах.
Лекція _____
Тема: Системи управління економайзером примусового холостого ходу.
План
1. Будова карбюратора
2. Економайзер примусового холостого ходу (ЕПХХ)
Дата добавления: 2015-02-05; просмотров: 3011;
