Плиты перекрытия
Ригели
Номенклатура ригелей содержит две группы: высотой сечения 450 мм и высотой сечения 600 мм. Ригели высотой сечения 450 мм разработаны для пролетов 3,0; 6,0; 7,2 м для применения с колоннами сечения 300х300 мм и 400х400 мм. Ригели высотой сечения 600 мм разработаны для пролета 9.0 м для применения с колоннами сечения 400х400 мм. В номенклатуру ригелей 600 мм включены также в качестве доборных ригели для пролетов 6.0 и 3.0 м.
Ригели высотой сечения 450 мм, пролетом 6.0 и 7.2 м, предназначенные для двухстороннего опирания плит запроектированы преднапряженными. Остальные ригели с высотой сечения 450 мм запроектированы без предварительного напряжения.
Ригели высотой сечения 600 мм, пролетом 9.0 м запроектированы предварительно напряженными, пролетом 3.0 и 6.0 м – без дополнительного напряжения.
Номенклатура ригелей включает в себя следующие типы изделий: ригели для двухстороннего опирания плит (РДП, РДР, РДТ); ригели для одностороннего опирания плит, устанавливаемые по торцевым осям и у деформационных швов (РОП, РОР, РОТ); ригели для одностороннего опирания плит или лестничных маршей, устанавливаемые в лестничных клетках (РЛП, ПЛР, РЛТ); бесполочные ригели (Р) с высотой сечения 300 мм, пролетом 6.0 и 3.0 м, устанавливаемые в лестничных клетках вдоль наружных стен, предназначенные для работы в качестве элементов диска перекрытия в местах его разрыва лестничными клетками (рисунки 45–55, таблицы 24–35).
Марка ригеля состоит из двух буквенно-цифровых групп, разделенных дефисом. Первая группа содержит буквенные и цифровые обозначения. Буквенные обозначения характеризуют поперечное сечение ригеля.
РД – ригель с двумя симметричными полками для опирания плит с двух сторон;
РО – ригель для опирания плит с одной стороны;
РЛ – ригель с одной полкой, устанавливаемый в лестничных клетках;
Р – ригель прямоугольный;
П – ригель для опирания многопустотных плит;
Р – ригеля для опирания ребристых плит;
Т – ригель для опирания плит типа 2Т.
Цифровые обозначения характеризуют габаритные размеры ригелей:
– первое число обозначает размер высоты сечения, в дециметрах;
– второе число обозначает округленную длину ригеля, в дециметрах.
Вторая часть марки характеризует несущую способность ригеля и класс стали предварительно напряженной арматуры. При этом несущая способность ригеля охарактеризована расчетной нагрузкой в сотых килограмм-сила на погонный метр.
Пример:
1) РДП 4.56 – 110 S800 – ригель двухполочный для опирания многопустотных плит высотой 450 мм, длиной 5560 мм с нагрузкой 11,0 т/п.м с предварительно напряженной арматурой класса S800;
2) РОР 4.57 – 40 – ригеля для опирания ребристых плит с одной стороны высотой 450 мм, длиной 5660 мм с нагрузкой 4,0 т/п.м.
Ригели перекрытий содержат закладные изделия для соединения с колоннами и межколонными (связевыми) плитами перекрытий.
Для решения сопряжения ригелей с другими элементами (при решении деформационных швов, внутреннего угла здания, опирания верхней лестничной площадки) в ригелях следует предусматривать постановку дополнительных закладных изделий (см. рисунок 44).

1– закладная деталь крепления к колонне; 2 – закладная деталь для крепления связей
Рисунок 44 – Опорная часть ригеля

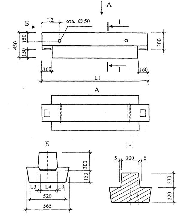
Рисунок 45 – Ригели двухполочные для пролета 6 м и колонн сечением 300х300 и 400х400 мм
Таблица 24 – Спецификация к рисунку 45
| Обозначение | Марка | Масса, т | L1 | L2 | L3 | L4 |
| 1.020-1/83.3-1 02 | РДП 4.57 – 40 S800 | 2,60 | ||||
| 1.020-1/83.3-1 01 | РДП 4.56 – 40 S800 | 2,55 |

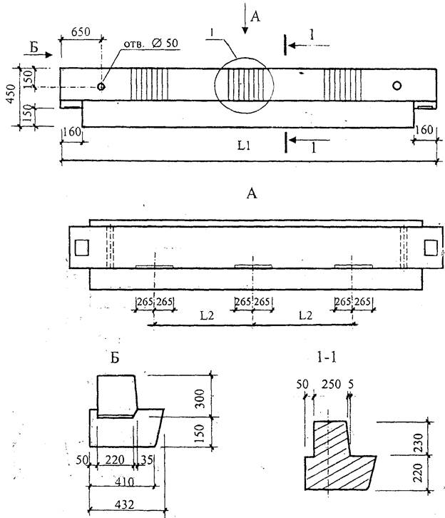
Рисунок 46 – Ригели двухполочные для пролета 7,2 м и колонн сечением 300х300 и 400х400 мм
Таблица 25 – Спецификация к рисунку 46
| Обозначение | Марка | Масса, т | L1 | L2 | L3 | L4 |
| 1.020-1/83.3-1 04 | РДП 4.69 – 40 S800 | 3,17 | ||||
| 1.020-1/83.3-1 03 | РДП 4.68 – 40 S800 | 3,12 |

Рисунок 47 – Ригели двухполочные для пролета 7,2 м и колонн сечением 300х300 и 400х400 мм
Таблица 26 – Спецификация к рисунку 47
| Обозначение | Марка | Масса, т | L1 | L2 | L3 | L4 |
| 1.020-1/83.3-1 14 | РДП 4.27 – 40 | 1,18 | ||||
| 1.020-1/83.3-1 11 | РДП 4.26 – 40 | 1,11 |

Рисунок 48 – Ригели однополочные для пролета 6 и 7,2 м и колонн сечением 300х300 мм
Таблица 27 – Спецификация к рисунку 48
| Обозначение | Марка | Масса, т | L1 | L2 |
| 1.020-1/83.3-1 07 | РОП 4.57 – 20 | 2,07 | ||
| 1.020-1/83.3-1 10 | РОП 4.66 – 30 | 2,52 |

Рисунок 49 – Ригели однополочные для пролета 6 и 7,2 м и колонн сечением 400х400 мм
Таблица 28 – Спецификация к рисунку 49
| Обозначение | Марка | Масса, т | L1 | L2 |
| 1.020-1/83.3-1 05 | РОП 4.56 – 30 | 2,35 | ||
| 1.020-1/83.3-1 09 | РОП 4.68 – 30 | 2,87 |

Рисунок 50 – Ригели однополочные для пролета 3 м и колонн сечением 400х400 мм
Таблица 29 – Спецификация к рисунку 50
| Обозначение | Марка | Масса, т | L1 | L2 |
| 1.020-1/83.3-1 12 | РОП 4.26 – 40 | 1,05 |

Рисунок 51 – Ригели однополочные для пролета 3 м и колонн сечением 300х300 мм
Таблица 30 – Спецификация к рисунку 51
| Обозначение | Марка | Масса, т | L1 | L2 |
| 1.020-1/83.3-1 15 | РОП 4.24 – 40 | 0,94 |

Рисунок 52 – Ригели однополочные для пролета 6 м и колонн сечением 300х300 и 400х400 мм, устанавливаемые в лестничных клетках
Таблица 31 – Спецификация к рисунку 52
| Обозначение | Марка | Масса, т | L1 | L2 | L3 | L4 |
| 1.020-1/83.3-1 05 | РЛП 4.57 – 30 | 1,35 | ||||
| 1.020-1/83.3-1 09 | РЛП 4.56 – 30 | 1,89 |

Рисунок 53 – Ригели однополочные для пролета 3 м и колонн сечением 300х300 и 400х400 мм, устанавливаемые в лестничных клетках и предназначенные для опирания лестничных маршей и плит перекрытия
Таблица 32 – Спецификация к рисунку 53
| Обозначение | Марка | Масса, т | L1 | L2 | L3 | L4 |
| 1.020-1/83.3-1 16 | РЛП 4.27 – 40 | 0,88 | ||||
| 1.020-1/83.3-1 17 | РЛП 4.26 – 45 | 0,84 |
а)

б)

Рисунок 54 – Ригели одно (а) - и двухполочные (б), предназначенные для опирания ребристых плит перекрытия и плит типа 2Т, высотой 300 мм и ригели, устанавливаемые в лестничных клетках с использованием колонн сечением 400х400 мм
Таблица 33 – Спецификация к рисунку 54а
| Обозначение | Марка | Масса, т | L |
| 1.020-1/83.3-4 05 | РДР 4.26–50 | 1,18 | |
| 1.020-1/83.3-4 01 | РДР 4.26–50 S800 | 2,4 | |
| 1.020-1/83.3-4 06 | РОР 4.26–40 | 1,0 | |
| 1.020-1/83.3–4 03 | РОР 4.26–50 S800 | 2,24 | |
| 1.020-1/83.3–4 06–02 | РЛП 4.26 – 45 | 0,9 | |
| 1.020-1/83.3–4 04 | РЛП 4.56 – 45 S800 | 1,82 |
Таблица 34 – Спецификация к рисунку 54б
| Обозначение | Марка | Масса, т | L |
| 1.020–1/83.3–10 11 | РДР 6.26–50 | 1,7 | |
| 1.020–1/83.3–10 04 | РДР 6.56–50 S800 | 3,6 | |
| 1.020–1/83.3–10 01 | РДР 6.86–50 S800 | 5,5 | |
| 1.020–1/83.3–10 12 | РОР 6.26–40 | 1,5 | |
| 1.020–1/83.3–10 06 | РОР 6.56–30 S800 | 3,3 | |
| 1.020–1/83.3–10 03 | РОР 6.86–30 S800 | 5,0 | |
| 1.020–1/83.3-1–12–02 | РЛР 6.26–60 | 1,2 | |
| 1.020–1/83.3–10 07 | РДР 6.56–45 S800 | 2,6 | |
| 1.020–1/83.3–10 13 | РДТ 6.26–110 | 1,7 | |
| 1.020–1/83.3–10 08 | РДТ 6.56–70 S800 | 3,68 | |
| 1.020–1/83.3–10 14 | РОТ 6.26–60 | 1,5 | |
| 1.020–1/83.3–10 09 | РОТ 6.56–40 S800 | 3,3 | |
| 1.020–1/83.3–10 14–02 | РЛТ 6.26–60 | 1,2 | |
| 1.020–1/83.3–10 10 | РЛТ 6.56–45 S800 | 2,5 |

Рисунок 55 – Бесполочные прямоугольные ригели пролетом 6 и 3 м, устанавливаемые в лестничных клетках вдоль наружных стен
Таблица 35 – Спецификация к рисунку 55
| Обозначение | Марка | Масса, т | L |
| 1.020-1/83.3–1 17 | Р 3.56 | 0,75 | |
| 1.020-1/83.3-1 17–01 | Р 3.57 | 0,77 | |
| 1.020-1/83.3-1 17–02 | Р 3.26 | 0,35 | |
| 1.020-1/83.3-1 17–03 | Р 3.27 | 0,37 |
Крепление ригеля к колонне шарнирное. Крепление осуществляется путем сварки закладных деталей ригеля и колонны с последующей заделкой зазора бетоном на мелком заполнителе (рисунок 56).

1 – бетон С12/15…С20/25 (при технико-экономическом обосновании можно заменить на цементно-песчаный раствор М200); 2 – сварка hш = 12 по длине закладной детали ГОСТ 5264-80-Н1-?8
Рисунок 56 – Узел крепления ригеля к колонне
Для придания большей эстетичности перекрытию зазоры между полками ригеля и наружными стенами (у крайних колонн) и между полками ригеля (у средних колонн) замоноличиваются. Для этого до монтажа плит перекрытия по два каркаса из арматуры диаметром 4 мм S500 (проволока) укладывают на полки ригеля не менее чем на 100 мм. У крайних колонн каркасы прихватывают сваркой к опорному столику, предназначенному для опирания плиты перекрытия. К каркасам крепится штукатурная сетка и узел омоноличивается (рисунок 57).



1 – бетон С12/15; 2 – опорный столик для опирания пристенной плиты перекрытия; 3 – пристенная (связевая) плита перекрытия шириной 1,2 м; 4 – цементно-песчаный раствор δ = 10 мм; 5 – арматура конструктивная
4 S500 (проволока); 6 – ригель; 7 – оштукатурить по сетке цементным раствором; 8 – стеновая панель; 9 – межколонная (связевая) плита перекрытия шириной 1,5 м
Рисунок 57 – Узел заделки зазоров между полками ригелей
Плиты перекрытия
В связи с тем, что каркас серии 1.020-83 является связевым каркасом, особенно важное значение для обеспечения пространственной устойчивости здания как в процессе монтажа, так и в процессе эксплуатации имеют диски перекрытий.
При устройстве перекрытия из многопустотных плит его работа в качестве диска обеспечивается за счет приварки ригелей к консолям колонн, сварки связевых панелей между собой и ригелями, а также за счет тщательного замоноличивания (бетоном класса не ниже С12 /15) шпонок и швов между всеми элементами перекрытия (шпоночные вырезы устраиваются при изготовлении на заводе по боковым поверхностям ригелей и боковым и торцевым плоскостям плит).

1 – сквозные отверстия
159 мм (с одного торца диаметр уменьшен, с другого торца плит отверстия заделаны бетонными вкладышами длиной 130 мм); 2 – круглые шпоночные углубления
120 мм, глубиной 15 мм; 3 – петлевые монтажные выпуски; 4 – закладные детали для крепления связей (только у связевых плит); 5 – зубчатые шпоночные вырезы по торцам плит
Рисунок 58 – Общий вид многопустотной плиты перекрытия
В каркасных зданиях по серии 1.020.1–83 используются многопустотные плиты перекрытия по серии 1.041–2 (рисунок 58).
Для междуэтажных перекрытий применяются многопустотные плиты двух видов: рядовые (номинальной шириной 1500 и 1200 мм) и связевые (плиты-распорки) (рисунки 60–66).
Связевые плиты совпадают по основным размерам с рядовыми, но имеют специальные закладные детали для крапления связей – арматурных стержней. Кроме того, связевые плиты в зданиях с колоннами 400´400 мм имеют по торцам вырезы для пропуска колонн. Связевые плиты укладывают между колоннами (как средними, так и крайними), при этом арматурный стержень приваривается к закладным деталям связевых плит и закладной детали ригеля.
В торцах здания устанавливается по два арматурных стержня, которые привариваются к закладной детали плиты и ригеля, а также закладной детали плиты и колонны.
Плиты опираются на полки ригелей по слою цементно–песчаного раствора толщиной 10 мм (рисунок 59).

1– цементно-песчаный раствор М100; 2 – плита перекрытия; 3 – ригель
Рисунок 59 – Узел опирания пустотных плит перекрытия на ригели
Если в отдельных местах перекрытия необходимы отверстия для пропуска стояков вентиляции или других коммуникаций вместо многопустотных плит укладывают санитарно-технические плиты (ПРС). Такая плита по периметру имеет толщину 220 мм, а остальная часть плиты – 30 мм. Кроме того, в каркасных зданиях по серии 1.020–83 могут использоваться в качестве плит перекрытия ребристые плиты высотой 300 мм и панели типа «ТТ» и «Т» высотой 600 мм.
Для круглопустотных плит установлена маркировка, состоящая из буквенно-цифровых групп, каждая из которых содержит следующие характеристики:
– первая группа – обозначение вида изделия (П-плита), формы пустот (К – круглопустотная), длина и ширина плиты в дециметрах;
– вторая группа – величина условной несущей способности в кПа, обозначение класса напрягаемой арматуры, вид бетона (для тяжелого бетона в рядовых плитах обозначение отсутствует);
– в третью группу, при необходимости вносятся обозначения, характеризующие принимаемые в конкретном проекте отличия от типовой плиты (дополнительные закладные изделия, мелкие вырезы и т. д.). В марках связевых пристенных плит, устанавливаемых по крайним рядам колонн, в третью группу добавляется индекс «1». В марках связевых плит, устанавливаемых по средним рядам колонн, в третью группу добавляется индекс «2». В марках связевых плит, устанавливаемых по средним рядам колонн и имеющих по торцам вырезы под колонны сечением 400´400 мм, в третью группу добавляется индекс «3». В марках связевых пристенных плит, имеющих по торцам вырезы под колонны сечением 400´400 мм, в третью группу добавляется индекс «4».
Для плит, предназначенных для применения только в зданиях, возводимых в не сейсмичных районах, в марке плиты, в третьей группе добавляется индекс в виде прописной буквы «Б».
Пример обозначения плиты ПК размером 5,65х1,5 м с условной несущей способностью 8 кПа, с напрягаемыми стержнями из стали класса S800, из тяжелого бетона, устанавливаемой по средним рядам колонн:


Рисунок 60 – Номенклатура рядовых плит высотой сечения 220 мм для зданий с колоннами сечением 300´300 мм и 400´400 мм
Таблица 36 – Спецификация к рисунку 60
| Размер в плане L´b, м | Обозначение | Марка | Масса, т |
| 2650´1190 | Серия 1.041.1–3 | ПК27.12–12 S400 | 0,9 |
| 2650´1490 | ПК27.15–16 S400 | 1,2 | |
| 5650´1190 | ПК56.12–14 S800 | 2,0 | |
| 5650´1490 | ПК56.15–15 S800 | 2,6 | |
| 6850´1190 | ПК68.12–12 S800 | 2,5 | |
| 6850´1490 | ПК68.15–13 S800 | 3,2 | |
| 8650´1190 | ПК86.12–7 S800 | 3,1 | |
| 8650´1490 | ПК86.15–7 S800 | 4,0 |

Рисунок 61 – Номенклатура связевых пристенных плит высотой сечения 220 мм для зданий с колоннами сечением 300´300 мм
Таблица 37 – Спецификация к рисунку 61
| Размер в плане L´b, м | Наименование | Обозначение | Масса, т |
| 2650´1190 | Серия 1.041.1–2 | ПК27.12-12 S400–1 | 0,9 |
| 5650´1190 | ПК56.12-14 S800–1 | 2,0 | |
| 6850´1190 | ПК68.12-12 S800–1 | 2,5 | |
| 8650´1190 | ПК86.12-7 S800–1 | 3,1 |

Рисунок 62 – Номенклатура связевых плит высотой сечения 220 мм для зданий с колоннами сечением 300´300 мм
Таблица 38 – Спецификация к рисунку 62
| Размер в плане L´b, м | Наименование | Обозначение | Масса, т |
| 2650´1490 | Серия 1.041.1–2 | ПК27.15–16 S400–2 | 1,2 |
| 5650´1490 | ПК56.15–13 S800–2 | 2,6 | |
| 6850´1490 | ПК68.15–12 S800–2 | 3,2 | |
| 8650´1490 | ПК86.15–8 S800–2 | 4,0 |

Рисунок 63 - Номенклатура связевых пристенных плит высотой сечения 220 мм для зданий с колоннами сечением 400´400 мм
Таблица 39 – Спецификация к рисунку 63
| Размер в плане L´b, м | Наименование | Обозначение | Масса, т |
| 2650´1190 | Серия 1.041.1–3 | ПК27.12–12 S400–4 | 0,9 |
| 5650´1190 | ПК56.12–10 S800–4 | 2,0 | |
| 6850´1190 | ПК68.12–12 S800–4 | 2,5 | |
| 8650´1190 | ПК86.12–7 S800–4 | 3,1 |

Рисунок 64 – Номенклатура связевых плит высотой сечения 220 мм для зданий с колоннами сечением 400´400 мм
Таблица 40 – Спецификация к рисунку 64
| Размер в плане L´b, м | Наименование | Обозначение | Масса, т |
| 2650´1490 | Серия 1.041.1–3 | ПК27.15–16 S400–3 | 1,2 |
| 5650´1490 | ПК56.15–13 S800Т–3 | 2,6 | |
| 6850´1490 | ПК68.15–13 S800Т–3 | 3,2 | |
| 8650´1490 | ПК86.15–8 S800Т–3 | 4,0 |

Рисунок 65 – Номенклатура сантехнических плит высотой сечения 220 мм для зданий с колоннами сечением 300´300 и 400´400 мм
Таблица 41 – Спецификация к рисунку 65
| Размер в плане L´b, м | Наименование | Обозначение | Масса, т |
| 2650´1490 | Серия 1.041.1–3 | ПРС27.15-17 S400 | 1,52 |
| 5650´1490 | ПРС56.15-15 S800Т | 2,89 | |
| 6850´1490 | ПРС68.15-13 S800 | 3,71 | |
| 8650´1490 | ПРС86.15-8 S800 | 4,62 |

Рисунок 66 – Номенклатура ребристых плит высотой сечения 300 мм для зданий с колоннами сечением 300´300 и 400´400 мм
Таблица 42 – Спецификация к рисунку 66
| Размер в плане L´b, м | Наименование | Обозначение | Масса, т |
| 5650´935 | Серия 1.041.1–4 | П3–6 S800 | 1,45 |
| 5650´1490 (с отверстием) | П2–1 S800–2 | 2,08 | |
| 5650´1490 | П2–2 S800 | 1,9 | |
| 5650´2985 | П1–6 S800 | 3,85 |
Заполнение швов между плитами перекрытия и плитами перекрытия и стенами показаны на рисунке 67.

1– плита перекрытия; 2 – бетон С12/15 (раствор М 200); 3 – стеновая панель
Рисунок 67 - Заполнение швов между плитами перекрытия и плитами перекрытия и стенами
Деформационные швы в зданиях рекомендуется осуществлять установкой парных колонн (на парных осях со вставкой 960мм) с сохранением размеров примыкающих пролетов (рисунок 68). Зазор между ригелями замоноличивают по месту, при этом монолитный участок перекрытия соединяют с одной из опор швом скольжения по прокладке из двух слоёв рубероида.

1 – конопатка просмоленной паклей; 2 – доска d = 16 мм; 3 – бетон В15; 4 – арматурная сетка (по проекту); 5 – отрезки прокатных уголков 140´90 мм, приваренных к закладным деталям однополочных ригелей с шагом 1000 мм; 6 – штукатурка; 7 – два слоя толя проложенных по уголкам
Рисунок 68 – Устройство температурного шва
Примеры схем раскладки плит при различном шаге колонн приведены на рисунках 69–72.

1 – стена; 2 – пристенная связевая плита шириной 1,2 м; 3 – связевая плита шириной 1,5 м; 4 – рядовая плита шириной 1,2 м; 5 – рядовая плита шириной 1,5 м; 6 – связь (стержневая арматура
14–22 мм)
Рисунок 69 – Схема раскладки плит при шаге колонн 6 м

1 – стена; 2 – пристенная связевая плита шириной 1,2 м; 3 – связевая плита шириной 1,5 м; 4 – рядовая плита шириной 1,2 м; 5 – рядовая плита шириной 1,5 м; 6 – связь (стержневая арматура диаметром 14–22 мм)
Рисунок 70– Схема раскладки плит при шаге колонн 7,2 м

1 – стена; 2 – пристенная связевая плита шириной 1,2 м; 3 – связевая плита шириной 1,5 м; 4 – рядовая плита шириной 1,2 м; 5 – рядовая плита шириной 1,5 м; 6 – связь (стержневая арматура диаметром 14–22 мм)
Рисунок 71 – Схема раскладки плит при шаге колонн 3 м

1 – стена; 2 – пристенная связевая плита шириной 1,2 м; 3 – связевая плита шириной 1,5 м; 4 – рядовая плита шириной 1,2 м; 5 – рядовая плита шириной 1,5 м; 6 – связь (стержневая арматура диаметром 14...22 мм)
Рисунок 72 – Схема раскладки плит при шаге колонн 9 м
Установку связей (арматурных стержней), связывающих связевые плиты перекрытия между собой и с ригелями (а в торце здания и с колоннами каркаса), рекомендуется осуществлять согласно схем, приведенных на рисунках 73…76.

1 – многопустотная плита перекрытия (связевая шириной 1,5 м); 2 - двухполочный ригель; 3 – средняя колонна каркаса; 4 – связь (арматурный стержень диаметром 14 – 22 мм S240)
Рисунок 73 – Схема установки связей по средним колоннам

1 – многопустотная плита перекрытия (связевая пристенная шириной 1,2 м); 2 – двухполочный ригель; 3 – крайняя колонна каркаса, расположенная у продольной стены; 4 – связь (арматурный стержень диаметром 14…22 мм S240); 5 – стеновая панель
Рисунок 74 – Схема установки связей по крайним колоннам

1 – многопустотная плита перекрытия (связевая шириной 1,5 м); 2 - однополочный ригель; 3 – средняя колонна каркаса; 4 – связь (арматурный стержень диаметром 14…22 мм S240); 5 – стеновая панель
Рисунок 75 – Схема установки связей по средним колоннам в торце здания

1 – многопустотная плита перекрытия (связевая пристенная шириной 1,2м); 2 – однополочный ригель; 3 – крайняя колонна каркаса, расположенная в углу здания; 4 – связь (арматурный стержень диаметром 14 – 22 мм S240); 5 – стеновая панель
Рисунок 76 – Схема установки связей по крайним колоннам
При проектировании здания (также как и при монтаже) вначале раскладывают ригели и связевые плиты (схема раскладки приведена на рисунке 77). При проектировании лестничных клеток устанавливаются дополнительные ригели, связывающие их с основным каркасом (рисунок 77, позиция 6). Затем раскладываются рядовые и сантехнические плиты (см. рисунки 69–72).
Отдельные места перекрытия, которые невозможно перекрыть плитами, замоноличиваются.
![]() |
1 – связевая плита 3х1,2 м.; 2– – связевая плита 6х1,2 м.; 3 – – связевая плита 6х1,5 м.; 4 – ригель Р 3.57; 5 – ригель РЛП 4.57; 6 – ригель РОП 4.27; 7 – ригель РДП 4.27 Рисунок 77 – Схеме расположения лестничных клеток, ригелей и плит перекрытий в каркасе с шагом колонн 6х6 м |
Стены
При проектировании зданий с изделиями каркаса серии 1.020–1/83 предусматривается применение стеновых панелей по серии 1.030.1–1 (рисунок 78).

Рисунок 78 – Стеновая панель
Панели наружных стен разработаны в двух вариантах - навесные и самонесущие. Навесные панели закрепляются на колоннах каркаса, передавая на них горизонтальные и вертикальные нагрузки. Самонесущие панели передают вертикальную нагрузку через простенки на конструкции нулевого цикла, а горизонтальные – на колонны каркаса.
При проектировании зданий, как правило, следует применять вариант самонесущих стен, как наиболее экономичный. Применение навесных панелей должно обосновываться архитектурно–конструктивными соображениями. Это в особой степени относится к зданиям с колоннами 300х300 мм.
Номенклатура стеновых панелей состоит из рядовых панелей, простеночных панелей, изменённых панелей для углов и цокольных панелей типа ПСЦ и БЦ (таблицы 43 и 44).
Панели разработаны длиной 3,0; 6,0; 7,2 и 9,0 м, при этом панели длиной 7,2 и 9,0 м изготавливаются только легкобетонными.
Низ панелей, устанавливаемых в уровне перекрытия (покрытия), располагается на 600 мм ниже уровня пола при ригелях высотой 450 мм (высота поясной панели – 1485 мм) и на 900 мм – при ригелях высотой 600 мм (высота поясной панели – 1785 мм). Применение панелей высотой 885 мм предусматривается только в случае опирания их на цокольные панели, а высотой 585 мм только в качестве подкарнизных. Парапет решается с применением панелей высотой 1485 и 1785 в зданиях с высотой ригеля 450 и 600 мм.
Самонесущие панели наружных стен устанавливаются на простеночные или рядовые панели и крепятся поверху к колоннам монтажными соединительными элементами, для чего в панелях предусмотрены закладные детали. Простеночные панели, устанавливаемые у колонн каркаса, крепятся аналогично.
Все простеночные панели по низу и по верху крепятся к рядовым панелям. Передача нагрузки от вышележащих стен предусматривается только через простеночные панели, расположенные у колонн каркаса, минуя простенки, устанавливаемые в пролете между колоннами. Максимальная высота самонесущих стен определяется несущей способностью простеночных панелей, установленных у колонн каркаса.
Навесные панели устанавливаются на опорные металлические столики, изготавливаемые из прокатного уголка и привариваемые к закладным деталям колонн. Простеночные панели навесных стен крепятся к выше– и ниже расположенным рядовым панелям. Во внутреннем углу здания навесные панели опираются на ригели каркаса через опорные столики.
Для случая самонесущих стен предусматриваются закладные изделия по врехней грани панелей для крепления их к колоннам, для навесных стен предусматривается установка закладных изделий по верхней и нижней граням. Для крепления простеночных панелей к рядовым предусмотрено соответствующее расположение закладных изделий в зависимости от ширины и расположения простенков.
Компановочные схемы стеновых панелей на фасадах зданий предусматривают габариты деревянных конструкций переплетов в соответствии с СТБ 939-93.
Панели нулевого цикла разработаны длиной 3,0; 3,6 и 6,0 м. Они устанавливаются на обрезы фундаментов колонн. В пролете может устанавливаться две или несколько цокольных панелей при условии опирания их на дополнительные промежуточные фундаменты.
Условное обозначение марок состоит из буквенно-цифровых индексов, образующих три группы обозначений:
1) содержит обозначение типа панели, определяющее ее конфигурацию и габаритные размеры в дециметрах. Габаритные размеры угловых панелей для наружных углов и простеночных панелей для внутренних углов зданий указаны в сантиметрах.
В настоящем выпуске разработаны следующие типы панелей:
ПС – панель стеновая рядовая;
1ПС – панель стеновая рядовая для внутреннего угла;
2ПС – панель стеновая простеночная;
3ПС – панель стеновая для наружного угла;
4ПС – панель стеновая простеночная для внутреннего угла;
ПСЦ – панель цокольная;
БЦ – балка цокольная;
ПК – карнизная панель;
2ПК – карнизная панель для внутреннего угла;
1ПК – карнизная панель для наружного угла;
2) указывает на несущую способность панели и материал панелей.
Материал панели обозначается:
Я – из ячеистого бетона;
Л – из легкого бетона;
Т – из тяжелого бетона (для карнизных панелей);
3) состоит из 2–х цифр, которые обозначают исполнение панели:
цифра 1 – прямое;
цифра 2 – зеркальное.
Вторая цифра третьей группы обозначает № схемы расположения закладных изделий в панелях.
При отсутствии прямого и зеркального исполнения изделия первый цифровой индекс в марке панели не проставляется.
Примеры маркировки:
Дата добавления: 2015-07-07; просмотров: 66313;

